KÁRMENTESÍTÉSI ÚTMUTATÓ 6

3. melléklet - A szilárd fázisú szennyezett anyagok kémiai elemzésének rendszere

Forrás: Weber, 1990

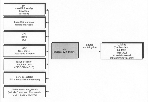
A talaj- és csurgalékvíz vizsgálati sémája
Forrás: Weber, 1990

Talaj-póruslevegő minták elemzési rendszere
Forrás: Weber, 1990

A 3. melléklet ábráin szereplő rövidítések jelentése:

AAS

atomabszorpciós spektroszkópia

AOX

adszorbeálható szerves halogénvegyület

BTX

benzol, toluol, xilol

BOI5

biológiai oxigénigény

CH

szénhidrogének

CHF

fluórtartalmú szénhidrogének

CHCL

klórozott szénhidrogének

DC

vékonyréteg kromatográfia

DOC

oldott szerves szén mennyisége

ECD

elektronbefogásos detektor

EOX

extrahálható szerves halogénvegyületek

FID

lángionizációs detektor

GC

gázkromatográfia

GC/MS

gázkromatográfiás elválasztás és tömegspektrometriás meghatározás

HPLC

nagy elválasztási teljesítményű folyadékkromatográfia

IC

ioncserélő kromatográfia

ICP-OES

induktív csatolású plazma-optikai emissziós spektroszkópia

IR

infravörös spektrometria

KOI

kémiai oxigénigény

Py-FI/MS

pirolízises láng-ionizációs tömegspektrometriás meghatározás

RF

röntgenfluoreszcencia

WLD

hővezetőképességi detektor

 
tartalomjegyzék
következő
előző